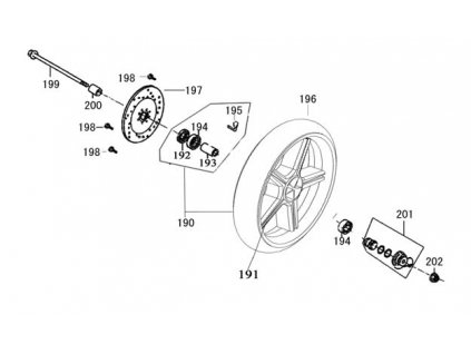
20-Kolo přední

Řazení produktů
10 položek celkem
Výpis produktů
3 918,56 Kč
/ ks
75 Kč
/ ks
159,85 Kč
/ ks
57,89 Kč
/ ks
Ovládací prvky výpisu
10 položek celkem
