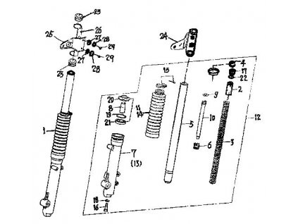
22 - tlumiče pérování přední

Nejprodávanější
Řazení produktů
11 položek celkem
Výpis produktů
1 463,50 Kč
/ ks
15,48 Kč
/ ks
245,42 Kč
/ ks
538,32 Kč
/ ks
16,54 Kč
/ ks
43,31 Kč
/ ks
43,31 Kč
/ ks
6,95 Kč
/ ks
Ovládací prvky výpisu
11 položek celkem
