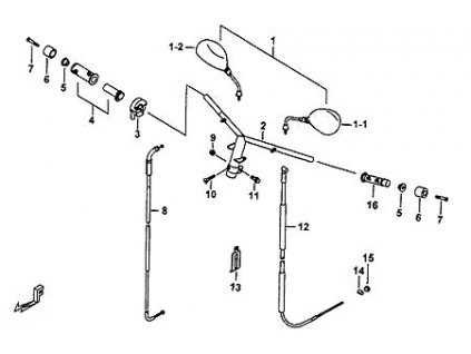
30 - řidítka,zrcátka,rukojetě,bowdeny

Nejprodávanější
Řazení produktů
9 položek celkem
Výpis produktů
150,89 Kč
/ ks
99,53 Kč
/ ks
95 Kč
/ ks
303,18 Kč
/ ks
76,80 Kč
/ ks
Ovládací prvky výpisu
9 položek celkem
