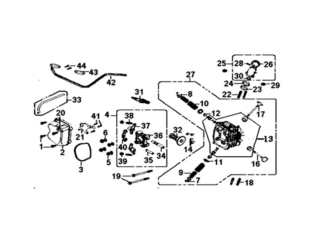
17 - ventil výfukový
Kód: 12H0317Detailní popis produktu
<Díl již není možné objednat, ale existuje NÁHRADA 10D0407. Náhradu naleznete zdeDoplňkové parametry
| Kategorie: | 3-Hlava motoru,víko ventilů,rozvody,trubka EGR |
|---|---|
| EAN: | 14711-GY6A-9000 |
| Skladové číslo: | 12H0317 |
| Skupina: | 03 |
| Pozice: | 17 |
| Typ moto: | ZN125T-50 |
| Model: | 125 CITY |
| Počet ks na moto: | 1 |
| Objcislo: | 10D0407 |
| Položka byla vyprodána… | |
Diskuze
Buďte první, kdo napíše příspěvek k této položce.
