125 SNAKE, Strana 2
-
1 - víko ventilů,svíčka zapalovací
-
2 - hlava motoru
-
3 - rozvody
-
4 - řetěz rozvodů,napínák
-
5 - válec motoru
-
6 - kryt motoru P.
-
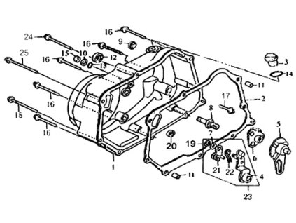
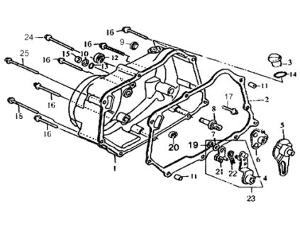
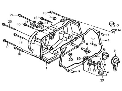
7 - spojka odstředivá
-
8 - spojka motoru
-
9 - čerpadlo oleje
-
10 - kryt magneta,rozety primární
-
11 - magneto
-
12 - volnoběžka starteru
-
13 - starter elektrický
-
14 - skříň kliková
-
15 - klik.hřídel,píst,čep,kroužky
-
16 - převodovka,rozeta primární
-
17 - řazení rychlostí
-
18 - hřídel,pedál startovací
-
19 - chladič motoru
-
20 - čerpadlo vody
-
21 - karburátor
-
23 - přístroje,bowden tachometru
-
24 - kryt světlometu,řidítek
-
25 - světlomet
-
26 - světla poziční
-
27 - řidítka,zrcátka,spínače,bowdeny
-
28 - tlumiče pérování přední
-
29 - krk řízení
-
30 - blatník přední,kryty blatníku
-
31 - kolo přední
-
32 - brzd.pumpa př.,páčka P.
-
33 - brzdič přední
-
34 - kolo zadní,rozeta
-
35 - sedlo
-
36 - nosič zadní,zámek sedla
-
37 - nádrž paliva
-
38 - filtr paliva
-
39 - stupačky př.,stojan boční
-
40 - stojan hlavní
-
41 - brzda zadní,pedál
-
42 - kryty přední
-
43 - kryty vnitřní
-
44 - kryty podsedlové
-
45 - blatník zadní
-
46 - světlo zadní
-
47 - vidlice,tlumič zadní,řetěz
-
48 - filtr vzduchu
-
49 - výfuk,stupačky zadní
-
51 - rám hlavní,akumulátor,zámky
-
52 - blikače
-
53 - kabel hlavní,elektropříslušenství
-
54 - nářadí
Nejprodávanější
Řazení produktů
293 položek celkem
Výpis produktů
6,95 Kč
/ ks
95 Kč
/ ks
125,73 Kč
/ ks
11,01 Kč
/ ks
3,87 Kč
/ ks
205,05 Kč
/ ks
15,48 Kč
/ ks
9,67 Kč
/ ks
182,60 Kč
/ ks
50,30 Kč
/ ks
378,50 Kč
/ ks
251,47 Kč
/ ks
45 Kč
/ ks
